Пресс-масленки – важная составная часть любого агрегата, где требуется нагнетание пластичной смазкой. Их основная функция - подача и пре смазочного материала, предохранение смазочного канала от засорения. Наиболее широко пресс-масленки применяются в автомобильной отрасли и станкостроении. Пресс-масленка представляет собой обратный клапан, устанавливаемый на смазочном канале, служит для подачи смазки к узлам трения, расположенным в труднодоступных местах. Благодаря этому необходимость разборки конструкции всего устройства пропадает.
Тавотница (ниппель для смазки) – это старое название по сути той же пресс-масленки. Дело в том, что раньше смазочные масла назывались тавот. Соответственно приспособления для подачи смазочного материала и назывались тавотницами.
В ассортименте нашей компании представлены пресс масленки завода UMETA (Германия) производящего продукцию для таких брендов как Pressol и WURT.
Основные типы H1 прямые (180°), H2 45° и H3 90° градусов, плоские M и T1/B, круглые, с воронкой и шаровые, как из обычной оцинковки, так и из нержавеющей стали. Ходовые позиции всегда в наличии, выполняются поставки под заказ.
Пресс-масленка H2, 45°, нержавеющая сталь, M8x1, VA, SK, SW 9 (1220907)
| Стандарт: | DIN 71412 |
| Резьба: | М6х1 |
| Ключ (мм): | 9 |
| Высота (мм): | 23,5 |
| Высота резьбы (мм): | 5,5 |
| Материал: | Нержавеющая сталь |
| Тело маслёнки: | Шестигранник (SK) |
Материл нержавеющая стать, шестигранник, под ключ 9 мм.
Страна изготовления Германия, полный аналог Pressol арт. 15941
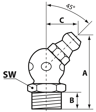
Технические данные:
Стандарт: DIN 71412
Размер А (мм): 23,5
Размер В (мм): 5,5
Размер С (мм): 10,5
Размер ключа (SW) (мм): 9
Материал: cталь нержавеющая
Вес (кг): 0,007


