Пресс-масленки – важная составная часть любого агрегата, где требуется нагнетание пластичной смазкой. Их основная функция - подача и пре смазочного материала, предохранение смазочного канала от засорения. Наиболее широко пресс-масленки применяются в автомобильной отрасли и станкостроении. Пресс-масленка представляет собой обратный клапан, устанавливаемый на смазочном канале, служит для подачи смазки к узлам трения, расположенным в труднодоступных местах. Благодаря этому необходимость разборки конструкции всего устройства пропадает.
Тавотница (ниппель для смазки) – это старое название по сути той же пресс-масленки. Дело в том, что раньше смазочные масла назывались тавот. Соответственно приспособления для подачи смазочного материала и назывались тавотницами.
В ассортименте нашей компании представлены пресс масленки завода UMETA (Германия) производящего продукцию для таких брендов как Pressol и WURT.
Основные типы H1 прямые (180°), H2 45° и H3 90° градусов, плоские M и T1/B, круглые, с воронкой и шаровые, как из обычной оцинковки, так и из нержавеющей стали. Ходовые позиции всегда в наличии, выполняются поставки под заказ.
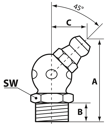
Пресс-масленка H2, 45°, нержавеющая сталь, R1/4, VA, SK, SW 14 (1221457)
| Стандарт: | DIN 71412 |
| Резьба: | R1/4" |
| Ключ (мм): | 14 |
| Высота (мм): | 22.5 |
| Высота резьбы (мм): | 6.5 |
| Материал: | Нержавеющая сталь |
| Тело маслёнки: | Шестигранник (SK) |
Материл нержавеющая стать, шестигранник, под ключ 14 мм.
Страна изготовления Германия, полный аналог Pressol арт. 15949
Технические данные:
Стандарт: DIN 71412
Размер А (мм): 22,5
Размер В (мм): 6,5
Размер С (мм): 12
Размер ключа (SW) (мм): 14
Материал: cталь нержавеющая
Вес (кг): 0,017


